HP 3000 Manuals

General Format for Procedure Division [ COBOL/HP-UX Language Reference for the Series 700 and 800 ] MPE/iX 5.0 Documentation


COBOL/HP-UX Language Reference for the Series 700 and 800

General Format for Procedure Division 

Declarative Format.   

[]
Non-Declarative Format.
[]
Systems Programming Extension Format.
[]
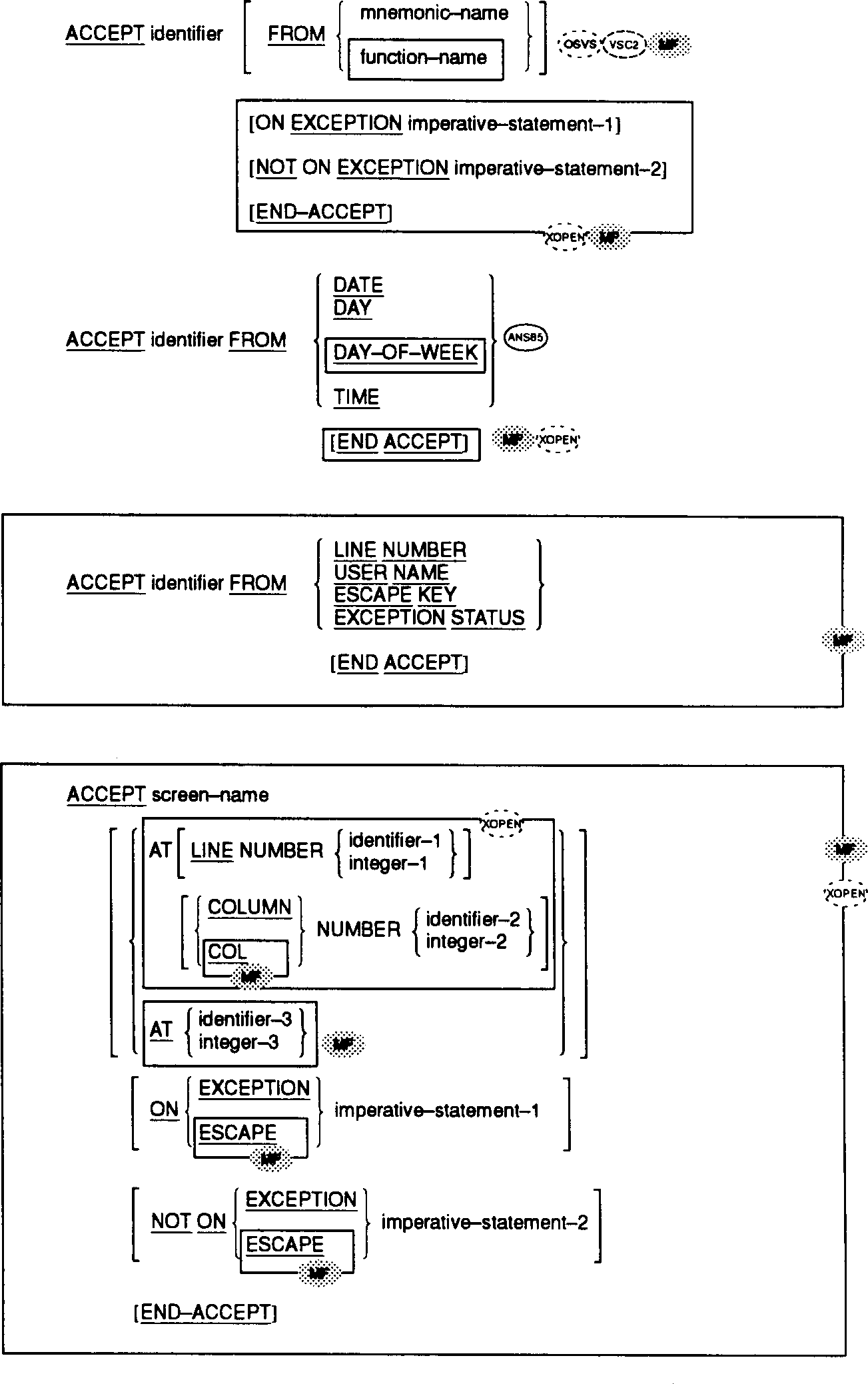
General Format for Verbs
[]
[]
[]
[]
[]
[]
[]
[]
[]
[]
[]
[]
[]
[]
[]
[]
[]
[]
[]
[]
[]
[]
[]
General Format for COPY Statement
[]
________________________________________________________________________ |General Format for REPLACE Statement | | | |(ANS85) | | | | REPLACE{= =pseudo-text-1 = = BY = = pseudo-text-2 = =}... | | REPLACE OFF | ________________________________________________________________________ General Format for Conditions Relation Conditions.
[]
Class Condition.
[]
Sign Condition.
[]
Condition-Name-Condition. condition-name Switch-Status Condition. condition-name Negated Simple Condition. NOT simple-condition
[]
Abbreviated Combined Relation Condition.
[]
[]
Miscellaneous Formats Qualification. Format 1
[]
Format 2
[]
Format 3
[]
Format 4
[]
Format 5
[]
Format 6
[]
Format 7
[]
Subscripting and Indexing.
[]
________________________________________________________________________ |(ANS85) | | | |Function-Identifier | | | | FUNCTION function-name-1[({argument-1}...)] [reference-modifier] | ________________________________________________________________________ Identifier. ________________________________________________________________________ |(ANS85) | | | |Format 1 | | | | function-identifier-1 | ________________________________________________________________________ Format 2
[]
[]


MPE/iX 5.0 Documentation