HP 3000 Manuals

Special Files [ Silhouette Reference Manual ] MPE/iX 5.0 Documentation


Silhouette Reference Manual

Special Files 

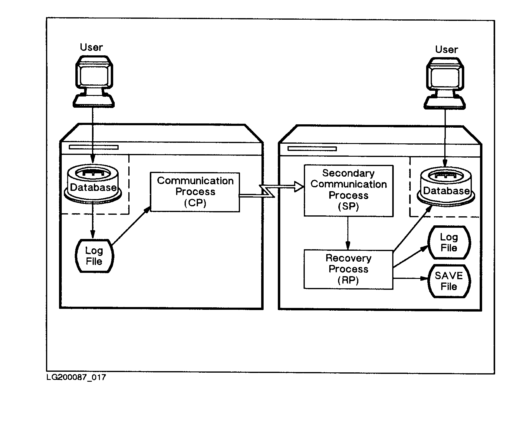
Silhouette system processes use message files for communication purposes,
and a SAVE file on the secondary system to store information about
transmitted records.

Message Files 

Silhouette processes communicate with other Silhouette processes by means
of a message file.  Two message files are necessary, one for sending and
one for receiving.  The names of these files are specified in the
COMMANDS`= and RESPONSES = lines of the configuration file discussed
above.

Figure 2-2 shows that the Communication Process (CP) can open the command
file for reading only, and the response file for writing only.  The
Manager Program (MP) can open the command file for writing only and the
response file for reading only.  This process provides a secure route for
information exchange between cooperating processes of the Silhouette
system.

[]
Figure 2-2. Message Files SAVE Files Figure 2-3 shows that the SAVE file exists only on the secondary system. It is used to store information about records transmitted to the duplicate logfile, and records which have been processed against the duplicate database. If a failure occurs on the secondary system, Silhouette reconstructs the database using the database and SAVE files from the backup tape and the current logfile from the primary system. The SAVE file allows the Recovery Process (RP) to know where to begin processing in the current logfile. Therefore, backup the SAVE file whenever a regular secondary system backup of the database and logfile occurs. Note that the SAVE file is keyed to the logfile on the primary system. If a new log cycle is started on the primary system, then a new SAVE file must be used on the secondary system. Errors occur if an old SAVE file is used to reconstruct a database from records stored in a new logfile.
[]
Figure 2-3. SAVE Files File Names There are certain restrictions on the names used for the various files used by Silhouette. These restrictions apply to message files and logfiles on both the primary and the secondary systems, and to the SAVE file on the secondary system. The names of these files must not begin with the letters X, Y, or Z. The file names must also be unique in at least one position other than the first letter. The message files AMESSAGE and BMESSAGE are not allowed, since the first letter is not unique for both. The message files MESSAGEA and MESSAGEB are acceptable since the first seven positions are unique in both. The message files A1MESS and A2MESS are acceptable since they are unique in the first plus the third through sixth positions.


MPE/iX 5.0 Documentation