NFS over TCP/IP

 

Implementing ONC+/NFS over the TCP/IP Transport Protocol

Thomas McNeal and Lisa Liu

Hewlett-Packard

19420 Homestead Road

Cupertino, CA  95014

(408) 447-2000

FAX: (408) 447-3660

tom_mcneal@hp.com, lisa_liu@hp.com

 

 

When NFS was first developed in the 1980. s, the User Datagram Protocol, or UDP, was chosen as the simplest, most efficient, and most reliable transport protocol for client/server file system transactions in a local area network.  At the time, the remote procedure call protocol (RFC 1050) implemented for NFS specifically assumed that the transport protocol would be UDP.  In the early 1990. s, when developing the newer NFS protocol know as Protocol Version 3 (RFC 1813), a . transport independent. version of RPC was developed, in order to support the eventual use of connection oriented protocols, such as TCP/IP.

 

The TCP protocol is now supported by many implementations of NFS, and is considered a desirable component of the increasingly distributed applications now available on Solaris, AIX, and other  UNIX platforms, as well as HP-UX.  Since development environments are expanding into widely dispersed locations, particularly with 3rd party applications, the guaranteed connectivity offered by the TCP protocol is becoming a mandatory component of NFS.

 

This paper will discuss the modifications required to support NFS over the TCP/IP transport protocol, which are largely confined to changes within RPC.  We will show that this implementation, using a private copy of RPC known only to the NFS layer, allows us to maintain binary compatibility, even in the face of kernel-intrusive applications, while preserving the excellent UDP performance results released on 11.0 in December, 1998.  We will show the modifications necessary to a few commands and daemons in order to support TCP, and will discuss the internal system behavior imposed upon NFS and RPC by the differences between connectionless and connection oriented protocols such as UDP and TCP.

 

Impact of UDP on NFS behavior

 

The connectionless behavior of UDP has required RPC to manage individual messages, requiring confirmation of message receipt, in addition to error recovery from delivery problems.  On the client, this is particularly evident in the complex timeout and message retransmission algorithms necessary to handle network traffic across a connectionless protocol.   An equivalent situation exists on the server, with its requirements to keep track of and reply to incoming messages, to reassemble them correctly if message fragmentation occurs across the wire, and to manage duplicate requests which inevitable occur when the client is unaware that the server has successfully received its messages.

 

The timeout and retransmission mechanism on the NFS client is particularly complex, involving timeout and error handling loops in both the NFS and RPC layers.  The general behavior is that a specific timeout length may be specified during mount time, with a default that may differ from one vendor to another.  (In the case of HP-UX release 11.0, that default is now 1.1 seconds, but was set to .7 seconds in earlier releases).  In addition, the number of attempts made to reach the server  can be defined at mount time (again, in conformance with SUN, the default number of retransmissions after the first attempt is 5).  If the first attempt fails, the length of the timeout doubles, up to a maximum of 20 seconds, until the defined number of retransmissions has been made.  If all of these attempts have been unsuccessful, the client will mark his kernel data structures to show that the server is . down. , and a message (. NFS failed for server xyz. , on HP-UX release 11.0, or the more familiar . NFS Server not responding. on earlier releases) is displayed at the console and sent to the system log.

 

With soft mounts, once a server has been marked . down. , any further NFS requests to that server will be attempted only once, if at all, and a failure will generate another error message at the console.  Hard mounts will continue to try the defined number of times before posting the error message.  If the maximum timeout length had not previously been reached, the length of the timeout will continue to double with each attempt until it hits maximum value of 20 seconds.  Once the client succeeds in reaching the server, all parameters are set back to their original values, the . down. flag is removed, and the . NFS Server OK. message is displayed at the console.

 

On the server, the fundamental problem with a connectionless protocol is that the client may never receive the reply from the server that a request was successfully received and acted upon.  The client will then continue to send the same request, as long as no reply is received.  In this case, the server handles these duplicate requests differently depending upon whether or not they are . idempotent. .  An idempotent request, such as the . getattr. attribute query, may be executed any number of times without changing the state of the server; in that case, depending upon the implementation, the server may simply execute the request again.  For the requests which are not idempotent, or which are more expensive to execute than to throw away, a duplicate request cache is consulted in order to determine if the request had been received and executed previously.

 

In contrast to UDP, the guaranteed connectivity of TCP removes the need to manage individual messages within the client, but the server continues to utilize the duplicate request cache, in order to allow requests encountering permission denials to be reattempted once the client. s  credential caches are updated.  This is highly dependent upon the security flavors implemented on the platform in question, and is not generally used in HP-UX.

 

Managing TCP connections

 

Instead of managing messages in the UDP environment, NFS must be able to manage TCP connections.  In an abstract way, this provides some stateful knowledge to the server, since the server then knows which clients are attached to it, but this is invisible at the NFS layer, and so NFS retains its stateless nature regardless of the transport type.

 

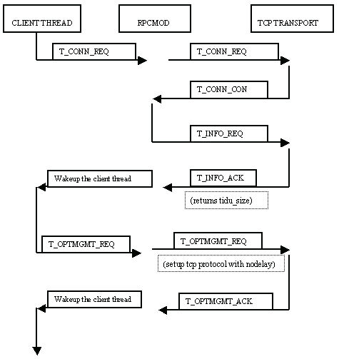
Within the STREAMS environment, a new module, RPCMOD, will provide much of the connection management.  In both the client and the server environment, this module is pushed onto the Streams stack, and will, on the server, communicate directly with kernel components of the NFS Daemon. 

 

On the client, an RPC request to the server will result in a connection request to the server, using a client structure to manage the client. s requests and responses through the STREAMS stack.  Each client can have maximum CLNT_MAX_CONNS number of connections to each server.  The default value of CLNT_MAX_CONNS is 1. The total maximum number of connections on the client is the number of NFS servers multiplied by CLNT_MAX_CONNS. For example, if CLNT_MAX_CONNS is 5 and there are 10 NFS mount across 3 servers, this client may have up to 15 connections.

Figure 1.1 . Establishing a TCP connection on a NFS client


A connection remains in the client until it becomes inactive. "Inactive" is defined as either "idle"or "disconnected". By default, the idle time is defined to be 5 minutes, meaning that ifI there is no outbound request on this channel for more than 5 minutes, the system tears down this connection by sending a close request to the stream head. The stream subsystem performs all the close functions defined for each downstream module, and eventually tears down the whole stream stack.

 

On the server, a request for a TCP connection will be identified correctly if the service has been advertised in the /etc/services file, with the entry . nfsd   2049/tcp. .  When a request for a TCP connection comes from a client, the NFS Daemon listening for TCP requests (by polling the entries in a poll array) will open a connection to the client, using the STREAM stack devoted to TCP. 

 

The NFS TCP server can support up to the maximum number of connections specified in the nfsd command line with the -c option. The default number of connections is unlimited. Each of the connections has an entry in a poll array. The nfsd daemon polls on the entires in the poll array for events and errors.

 

The poll array has an initial size of 64 entries. When the total number of connection grows, the system re-allocates a larger array to accommodate more connections. When the nfsd user thread receives a T_LISTEN event, it opens a new connection. If the system has already opened the maximum number of connections specified on the command line, it drops the oldest connection before accepting the new connection

 

A Server. s connection is torn down by the NFS daemon, nfsd,  when one of the following events happens:

§         When the RPCMOD detects an idle connection, it sends a signal to the NFS daemon. The NFS daemon closes this connection accordingly.

§         The NFS daemon  receives a connection request after it has reached the maximum number of connections allowed. It finds the oldest one from the polling list and closes this connection.

§         The NFS daemon receives a disconnecting event or unrecoverable error event.  Its response to such events is to close the connection.

 

 

 

Constructing TCP support for NFS within HP-UX

 

The primary location of the code modifications required to support TCP are in the HP-UX kernel. s ONC+/RPC layer.  Fortunately,  the libraries containing HP-UX kernel components used to build the ONC+ are separated into RPC and NFS archives (/usr/conf/lib/libnfs.a and /usr/conf/lib/librpc.a).  This allows us to create a private, NFS-specific RPC, known only to NFS, and contained within the NFS kernel archive library.  We decided to implement a private copy of the RPC library for the following reasons:

 

§         Preserve binary compatibility for kernel-intrusive ISVs in the 11.11 system release

§         Preserve the SPECsfs93 benchmark results published in July, 1998

§         Preserve our ability to patch the 11.0 system release

 

Since the RPC enhancements are private to NFS, the first and third issues are automatically addressed, since hiding the externally visible changes preserves the current RPC product for usage without run-time, link-time, or compile-time modifications.

 

NFS Performance modifications in HP-UX 11.0

 

Preserving the SPECsfs93 (also known as SPECsfs 1.1) benchmark results was more difficult than preserving compatibility, since the NFS layer UDP pathways needed to continue using the current RPC pathways which contained the benchmark modifications.  This was important on the server, where the benchmark results are measured, but not so important on the client, which had no real modifications related to SPECsfs93.

 

In the HP-UX 11.0 server (as patched with the performance modifications available in December 1998),  the kernel structures handling incoming traffic on port 2049, the standard NFS server port, were cloned and distributed per processor, as seen in figure 1.2.  This called for replicating the STREAMS stack which handled UDP transport traffic, in addition to assuring that enough NFS daemons existed to service each stack. 

 

Several other enhancements were important in achieving the outstanding benchmark numbers first published in June 1998, just prior to the closure of the benchmark by the SPEC consortium, in favor of the SPECsfs97 benchmark.  These enhancements included:

 

§         Task stealing by the kernel component of the NFS daemons, in order to prevent contention at a single processor if all daemons assigned to that processor are already busy.

§         Avoidance of some buffer copies in the NFS Server. s read pathways

§         Enhanced hashing functions for several internal tables

§         Enhanced vnode synchronization within the underlying file systems (both HFS and VxFS)

 

 

HP has now begun analyzing and measuring the latest NFS benchmark, SPECsfs97.  This benchmark exercises the Protocol Version 3 (PV3) of NFS, rather than the older PV2 protocol used in SPECsfs93.  The newer benchmark will also change the mix of operations executed by the load generating clients, so the absolute numbers of operations per second (IOPS) and the response time of the server should only be compared with other SPECsfs97 results, and not with the SPECsfs93 results.

Figure 1.2 . NFS Server UDP Transport Stream Stack

With the additional support of NFS over the TCP/IP protocol, an additional STREAMS stack will be created for each TCP connection created, as shown in figure 1.3.  The number of connections that can be supported by the NFS daemon is specified by the . -c. option of the nfsd command. By default, the number of connections is unlimited.

 

Each connection may have maximum of 10 kernel threads serving requests in the kernel space. The actual number of kernel threads is dynamically adjusted by the system according to the system load.

 

Each connection is associated with a stream stack headed by the RPCMOD module. The nfsd program communicates to the stream through the stream head, but the kernel  nfsd thread, known as KRPC, communicates to the stream by passing packages between the RPCMOD module and KRPC directly, bypass the stream head.

 Changes to the NFS Server  daemon command

 

From the system administration point of view, very few changes are necessary to support NFS transactions with the TCP/IP protocol.  As mentioned, the NFS Server daemon, /usr/sbin/nfsd, has been modified with an additional parameter, and will exhibit behavior when initializing the NFS Server that is different from that currently seen.

 

As with the current performance enhancements, the NFS Server daemon will replicate itself  at least as many times as there are processors on the Server, regardless of the number of server daemons specified in the NFS configuration file, /etc/rc.config.d/nfsconf.  In addition, the total number of daemons launched will be a multiple of the number of configured processors, with the number of daemons specified in the configuration file serving as a lower bound.

 

In addition to the daemons specified above, all of which handle UDP traffic, a single daemon for TCP traffic will be launched.  This daemon, as seen in figure 1.3, will launch a kernel component used to manage kernel threads launched to handle a particular connection. s traffic, and then wait for incoming requests.

 

 

Changes to the NFS Mount command

 

The mount command will contain an additional NFS specific option which specifies the transport protocol which is desired.  As with SUN, use of the TCP/IP protocol will be the default, with UDP being the alternative if the server does not support TCP.  If the command specifically calls for the UDP protocol, only that protocol will be requested, and no other request will be made regardless of the server. s response.

 

The actual variable which must be used with the protocol option (-o proto=tcp, or . o proto=udp) will be the . netid. specified in the protocol configuration file used by transport independent RPC, /etc/netconfig. 

 

Conclusion

 

The underlying support within NFS required by the TCP protocol should be unseen by the application user, and should only be visible to the system administrator through minor changes to commands and daemons, and through entries in supporting files required to advertise and support the TCP protocol.  Its presence has been anticipated by the implementation of the Transport Independent Remote Procedure Call components of ONC+ in the initial release of HP-UX 11.0, and the architectural design within the HP-UX kernel has made every effort to provide a smooth transition to general usage of NFS across the TCP/IP transport protocol.

 

 

 

 

 


Appendix 1 - nfsd man page
 
 nfsd(1M)                                                           nfsd(1M)
 
 
 NAME
      nfsd, biod - NFS daemons
 
 SYNOPSIS
      /usr/sbin/nfsd [-a] [-c conns] [-p protocol] [-t device] [nservers]
 
      /usr/sbin/biod [nservers]
 
 DESCRIPTION
      nfsd starts the NFS server daemons that handle client file system
      requests (see nfs(7)).
 
      biod starts nservers asynchronous block I/O daemons.  This command is
      used on an NFS client to buffer cache handle read-ahead and write-
      behind.  nservers is a number greater than zero.  For best
      performance, set nservers to at least four.
 
    OPTIONS
      nfsd recognizes the following options:
 
           -a          Start a NFS daemon over all supported connectionless
                       and connection-oriented transports, including udp and
                       tcp.
 
           -c  conns   This sets the maximum number of connections allowed
                       to the NFS server over connection-oriented
                       transports.  By default, the number of connections is
                       unlimited.
 
           -p  protocol
                       Start a NFS daemon over the specified protocol.
 
           -t  device  Start a NFS daemon for the transport specified by the
                       given device.
 
           nservers    nservers is the suggested number of file system
                       request daemons that will start.  The actual number
                       of daemons started will be one tcp daemon (to support
                       kernel tcp threads) plus the number of udp daemons.
                       The minimum number of udp daemons will be equal to
                       the number of active processors, or to nservers,
                       whichever is greater.  The actual number of udp
                       daemons started will be a multiple of the number of
                       active processors.  To obtain the best performance in
                       most cases, set nservers to at least four.
 
 AUTHOR
      nfsd was developed by Sun Microsystems, Inc.
 
 SEE ALSO
      mountd(1M), exports(4)

Appendix 2 - mount_nfs man page

 

mount_nfs(1M)                                                 mount_nfs(1M)

 

 

 NAME

      mount, umount - mount and unmount an NFS file systems

 

 SYNOPSIS

      /usr/sbin/mount [-l] [-p|-v]

 

      /usr/sbin/mount -a [-F nfs] [-eQ]

 

      /usr/sbin/mount [-F nfs] [-eQrV] [-o specific_options]

           {host:path|directory}

 

      /usr/sbin/mount [-F nfs] [-eQrV] [-o specific_options]

           host:path directory

 

 

      /usr/sbin/umount -a [-F nfs] [-h host] [-v]

 

      /usr/sbin/umount [-v] [-V] {host:path|directory}

 

 DESCRIPTION

      The mount command mounts file systems.  Only a superuser can mount

      file systems.  Other users can use mount to list mounted file systems.

 

      The mount command attaches host:path to directory.  host is a remote

      system, path is a directory on this remote system and directory is a

      directory on the local file tree.  directory must already exist, be

      given as an absolute path name and will become the name of the root of

      the newly mounted file system.  If either host:path or directory is

      omitted, mount attempts to determine the missing value from an entry

      in the /etc/fstab file.  mount can be invoked on any removable file

      system, except /.

 

      If mount is invoked without any arguments, it lists all of the mounted

      file systems from the file system mount table, /etc/mnttab.  The

      umount command unmounts mounted file systems.  Only a superuser can

      unmount file systems.

 

 OPTIONS

      -r   Mount the specified file system read-only.

 

      -o specific_options

           Set file system specific options according to a comma-separated

           list chosen from words below.

 

           rw|ro          resource is mounted read-write or read-only.  The

                          default is rw.

 

           suid|nosuid    Setuid execution allowed or disallowed.  The

                          default is suid.

 

           remount        If a file system is mounted read-only, remounts

                          the file system read-write.

 

           bg|fg          If the first attempt fails, retry in the

                          background, or, in the foreground.  The default is

                          fg.

 

           quota          Enables quota(1M) to check whether the user is

                          over quota on this file system; if the file system

                          has quotas enabled on the server, quotas will

                          still be checked for operations on this file

                          system.  The default is quota.

 

           noquota        Prevent quota(1M) from checking whether the user

                          exceeded the quota on this file system; if the

                          file system has quotas enabled on the server,

                          quotas will still be checked  for operations on

                          this file system.

 

           retry=n        The number of times to retry the mount operation.

                          The default is 1.

 

           vers=<NFS version number>

                          By default, the version of NFS protocol used

                          between the client and the server is the highest

                          one available on both systems. If the NFS server

                          does not support NFS Version 3, then the NFS mount

                          will use NFS Version 2 .

 

           port=n         Set server UDP port number to n (the default is

                          the port customarily used for NFS servers).

 

           proto=<transp> Use the transport protocol, <transp> for this

                          mount.  Valid values for <transp> are tcp

                          (connection-oriented), or udp (connectionless).

                          The default behavior is to attempt a tcp

                          connection.  If the tcp connection attempt fails,

                          a udp connection will be attempted.

 

           grpid          By default, the GID associated with a newly

                          created file will obey the System V semantics;

                          that is, the GID is set to the effective GID of

                          the calling process.  This behavior may be

                          overridden on a per-directory basis by setting the

                          set-GID bit of the parent directory; in this case,

                          the GID of a newly created file is set to the GID

                          of the parent directory (see open(2) and

                          mkdir(2)).  Files created on file systems that are

                          mounted with the grpid option will obey BSD

                          semantics independent of whether the set-GID bit

                          of the parent directory is set; that is, the GID

                          is unconditionally inherited from that of the

                          parent directory.

 

           rsize=n        Set the read buffer size to n bytes.  The default

                          value is set by kernel.

 

           wsize=n        Set the write buffer size to n bytes.  The default

                          value is set by kernel.

 

           timeo=n        Set the NFS timeout to n tenths of a second.  The

                          default value is set by kernel.

 

           retrans=n      Set the number of NFS retransmissions to n.  The

                          default value is 5.

 

           soft|hard      Return an error if the server does not respond, or

                          continue the retry request until the server

                          responds.  The default value is hard.

 

           intr|nointr    Allow (do not allow) keyboard interrupts to kill a

                          process that is hung while waiting for a response

                          on a hard-mounted file system.  The default is

                          intr.

 

           noac           Suppress attribute caching.

 

           nocto          Suppress fresh attributes when opening a file.

 

           devs|nodevs    Allow (do not allow) access to local devices.  The

                          default is devs.

 

           acdirmax=n     Hold cached attributes for no more than n seconds

                          after directory update.  The default value is 60.

 

           acdirmin=n     Hold cached attributes for at least n seconds

                          after directory update.  The default value is 30.

 

           acregmax=n     Hold cached attributes for no more than n seconds

                          after file modification.  The default value is 60.

 

           acregmin=n     Hold cached attributes for at least n seconds

                          after file modification.  The default value is 3.

 

           actimeo=n      Set min and max times for regular files and

                          directories to n seconds.  actimeo has no default;

                          it sets acregmin, acregmax, acdirmin, and acdirmax

                          to the value specified.

 

      -O   Overlay mount.  Allow the file system to be mounted over an

           existing mount point, making the underlying file system

           inaccessible.  If a mount is attempted on a pre-existing mount

           point without setting this flag, the mount will fail, producing

           the error device busy.

 

    Options (umount)

      umount recognizes the following options:

 

           -a             Attempt to unmount all file systems described in

                          /etc/mnttab.  All optional fields in /etc/mnttab

                          must be included and supported.  If -F nfs option

                          is specified, all NFS file systems in /etc/mnttab

                          are unmounted.  File systems are not necessarily

                          unmounted in the order listed in /etc/mnttab.

 

           -F nfs         Specify the NFS file system type (see fstyp(1M)).

 

           -h host        Unmount only those file systems listed in

                          /etc/mnttab that are remote-mounted from host.

 

           -v             Verbose mode.  Write a message to standard output

                          indicating which file system is being unmounted.

 

           -V             Echo the completed command line, but performs no

                          other action.  The command line is generated by

                          incorporating the user-specified options and other

                          information derived from /etc/fstab.  This option

                          allows the user to verify the command line.

 

    NFS File Systems

      Background vs. Foreground

           File systems mounted with the bg option indicate that mount is to

           retry in the background if the server's mount daemon (mountd(1M))

           does not respond.  mount retries the request up to the count

           specified in the retry=n option.  Once the file system is

           mounted, each NFS request made in the kernel waits timeo=n tenths

           of a second for a response.  If no response arrives, the time-out

           is multiplied by 2 and the request is retransmitted.  When the

           number of retransmissions has reached the number specified in the

           retrans=n option, a file system mounted with the soft option

           returns an error on the request; one mounted with the hard option

           prints a warning message and continues to retry the request.

 

      Hard vs. Soft

           File systems that are mounted read-write or that contain

           executable files should always be mounted with the hard option.

           Applications using soft mounted file systems may incur unexpected

           I/O errors.

 

           To improve NFS read performance, files and file attributes are

           cached.  File modification times get updated whenever a write

           occurs.  However, file access times may be temporarily out-of-

           date until the cache gets refreshed.  The attribute cache retains

           file attributes on the client.  Attributes for a file are

           assigned a time to be flushed.  If the file is modified before

           the flush time, then the flush time is extended by the time since

           the last modification (under the assumption that files that

           changed recently are likely to change soon).  There is a minimum

           and maximum flush time extension for regular files and for

           directories.  Setting actimeo=n sets flush time to n seconds for

           both regular files and directories.

 

 EXAMPLES

      To mount an NFS file system:

 

           mount serv:/usr/src /usr/src

 

      To mount an NFS file system readonly with no suid privileges:

 

           mount -r -o nosuid serv:/usr/src /usr/src

 

      To mount an NFS file system over Version 3:

 

           mount -o vers=3 serv:/usr/src /usr/src

 

      To unmount all file systems imported from a given host, enter the

      following command as root:

 

           umount -h mysystem.home.work.com -a

 

      The hostname must match what is in /etc/mnttab exactly (as shown by

      the bdf command). For example, if bdf shows:

 

           mysystem:/projects,

 

      the umount command would be

 

           umount -h mysystem -a.

 

 FILES

      /etc/mnttab         table of mounted file systems.

      /etc/fstab          list of default parameters for each file system.

 

 SEE ALSO

      fsclean(1M), mount(1M), quotaon(1M), mount(2), fstab(4), mnttab(4),

      fs_wrapper(5), quota(5).

 

 STANDARDS COMPLIANCE

      mount: SVID3

 

      umount: SVID3

 

 

 

 

 

 

 


Appendix 3

 

Included is a representative sample of the output from the nfsstat command.  Please note the division of data into the differing transport types - Connection oriented, as with TCP, and Connectionless, as with UDP.

 

 

# nfsstat

 

Server rpc:

Connection oriented:

calls      badcalls   nullrecv   badlen     xdrcall    dupchecks  dupreqs   

7          0          0          0          0          0          0         

Connectionless oriented:

calls      badcalls   nullrecv   badlen     xdrcall    dupchecks  dupreqs   

0          0          0          0          0          0          0         

 

 

Server nfs:

calls      badcalls  

6          0         

Version 2: (0 calls)

null       getattr    setattr    root       lookup     readlink   read      

0 0%       0 0%       0 0%       0 0%       0 0%       0 0%       0 0%      

wrcache    write      create     remove     rename     link       symlink   

0 0%       0 0%       0 0%       0 0%       0 0%       0 0%       0 0%      

mkdir      rmdir      readdir    statfs    

0 0%       0 0%       0 0%       0 0%      

Version 3: (6 calls)

null       getattr    setattr    lookup     access     readlink   read      

1 16%      1 16%      0 0%       0 0%       1 16%      0 0%       0 0%      

write      create     mkdir      symlink    mknod      remove     rmdir     

0 0%       0 0%       0 0%       0 0%       0 0%       0 0%       0 0%      

rename     link       readdir    readdir+   fsstat     fsinfo     pathconf  

0 0%       0 0%       0 0%       2 33%      0 0%       1 16%      0 0%      

commit    

0 0%      

 

 

Client rpc:

Connection oriented:

calls      badcalls   badxids    timeouts   newcreds   badverfs   timers    

32         0          0          0          0          0          0         

cantconn   nomem      interrupts

0          0          0         

Connectionless oriented:

calls      badcalls   retrans    badxids    timeouts   waits      newcreds  

0          0          0          0          0          0          0         

badverfs   timers     toobig     nomem      cantsend   bufulocks 

0          0          0          0          0          0         


Client nfs:

calls      badcalls   clgets     cltoomany 

32         0          32         0         

Version 2: (0 calls)

null       getattr    setattr    root       lookup     readlink   read      

0 0%       0 0%       0 0%       0 0%       0 0%       0 0%       0 0%      

wrcache    write      create     remove     rename     link       symlink   

0 0%       0 0%       0 0%       0 0%       0 0%       0 0%       0 0%      

mkdir      rmdir      readdir    statfs    

0 0%       0 0%       0 0%       0 0%      

Version 3: (32 calls)

null       getattr    setattr    lookup     access     readlink   read      

0 0%       8 25%      2 6%       2 6%       10 31%     0 0%       1 3%      

write      create     mkdir      symlink    mknod      remove     rmdir     

1 3%       1 3%       0 0%       0 0%       0 0%       0 0%       0 0%      

rename     link       readdir    readdir+   fsstat     fsinfo     pathconf  

0 0%       0 0%       0 0%       4 12%      1 3%       1 3%       0 0%       

commit    

1 3%      

 

 

 

 

Author | Title | Track | Home

Send email to Interex or to the Webmaster
©Copyright 1999 Interex. All rights reserved.